Mobile
Smartphones
Tablets
Smartwatch & Wearables
Telco
PC
Laptops
Monitors, Input Devices & Accessories
PC Components
Storage
Networking & Security
Lifestyle
Audio
Video
Photography
Smart Home
AI
Cars
Apps & Software
Entertainment
Gaming & Culture
TV & Movies
Guides
How To
Tips
Deals
Editor's Picks
Follow Us
The Tech Show 2025 is on! Visit our
Tech Show Portal
for shopping guides, brochures and more!
watch bands
Filter by:
NEWS
REVIEWS
FEATURES
Mobile
Nomad unveils hybrid titanium band for the Apple Watch
Mobile
Existing Apple Watch bands may be incompatible with Apple's 2024 smartwatch
21 Dec 2023
Mobile
You can use 42-45mm bands with the Apple Watch Ultra
7 Sep 2022
Mobile
Existing watch bands may not be compatible with the upcoming Apple Watch Pro
29 Aug 2022
Mobile
The Aura Strap for Apple Watch tracks your body composition and hydration level
8 Jan 2020
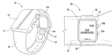
Lifestyle
Patents reveal smart Apple Watch bands with Wrist ID and visual indicators
8 Sep 2019
Mobile
New Apple Watch bands in spring colors and styles available later this month
21 Mar 2018
Mobile
My favorite Apple Watch sports band
27 Nov 2017
Mobile
The best Apple Watch sports band: Nike vs. Belkin
8 Jul 2017