Apple’s latest patent might change the way we control our devices

Apple’s most recent patent is for “proximity and multi-touch sensor detection and demodulation", which essentially shifts the interaction area beyond the screen. Find out how that works within.

After the release of their 3D Touch force-sensing input on the iPhone 6S, and the Force Touch implementation on the Apple Watch, it seems Apple is moving even further in their quest for the perfect input technology with a patent for detecting non-contact hover gestures.

In short, the patent describes how proximity-sensing hardware and photo diodes can be used in tandem to sense where the user’s hand (or finger) is, thus extending the basic user interface beyond the screen. AppleInsider notes that this is similar in scope to 3D Touch, but measures input in an opposite direction along the z-axis relative to the screen.

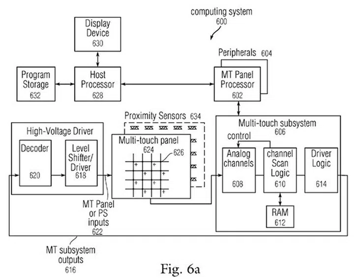
The patent also details an implementation for a larger computing system like a laptop.

The patent also details an implementation for a larger computing system like a laptop.

Non-contact user interfaces seem to be a long-standing topic of interest for Apple and rumors have swirled around about it having a secret team for AR and VR projects for quite a while. Apple has been steadily picking up patents relating to hover and gesture detection, and this latest patent seems to be optimized for use in their iPhones, Macbooks and other portable devices.

The patent suggests the use of infrared LEDs and photodiodes to convert light bouncing off the user’s finger into input. With multiple sensor arrays installed in groups or rows, the system would be able to detect a finger, palm or other object hovering above the display surface. Motion could then be translated into inputs, and a GUI can be created to allow users to “push” virtual buttons or to trigger functions like magnifying the display without physically touching the screen.

The patent details implementation for a media player.

The patent details implementation for a media player.

Apple’s patents outline multiple use cases for this technology, applying it to proximity sensors, mobile phone implementations, and versions for portable media players and laptops, which means if and when the technology takes off, we could be seeing a change in computer interfaces in a really large way.

Sources: AppleInsider, USPTO, TheMacObserver

Our articles may contain affiliate links. If you buy through these links, we may earn a small commission.

Share this article