Is Apple making a switchless Force Touch keyboard?

Based on a patent published in the U.S. yesterday, it looks like Apple might be looking to slim down its Macbook and Mac keyboards by removing the physical keyboard switches and replacing them with Force Touch technology.

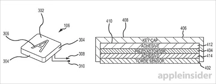
The U.S. Patent and Trademark Office has granted Apple Patent No. 9,178,509 for an "Ultra low travel keyboard" which describes the basic operating principles behind a completely switch-less QWERTY input mechanism reminiscent of the company's Force Touch trackpads.

Apple's current MacBook Air, MacBook Pro and Mac accessory lineups utilize modified scissor switches, or in the case of the 12-inch MacBook, butterfly switches, nestled within hollow key caps. The new patent illustrates a similar design but with the switches replaced with a stack of sensors, actuators and supporting circuitry.

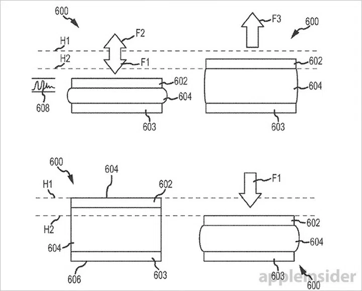
The technology is similar to the sensors found in Apple's Force Touch trackpads, with sensors configured to measure downward pressure and integrated actuators generating haptic feedback to simulate key movement.

As with Apple's Force Touch trackpads, one of the benefits of the technology could be a secondary deeper click for added functionality. On the Force Touch trackpad you can use this to preview urls or rename files among other things, but on a Force Touch keyboard you could perhaps use it for system shortcuts without having to hold down the command key.

The other benefit of a Force Touch keyboard could be a much thinner Macbook chassis. One of the current limitations for chassis size is the allowance needed for the switch mechanism to move. A non-moving keyboard with only haptic feedback would solve that problem and could allow for a much thinner profile.

Source: Appleinsider

Our articles may contain affiliate links. If you buy through these links, we may earn a small commission.

Share this article