Samsung's future wearables can recognize users by their veins

Samsung has filed a patent for a wearable sensor that can read the user's veins to establish his or her identity. If implemented, this allows Samsung's future wearables to double as keys for doors and cars. Read on to find out more!

Image source: USPTO

Image source: USPTO

 

What can be more secure than your fingerprint? Well, as it turns out, it's your veins.

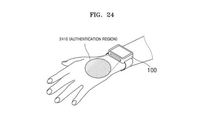
Using vein recognition as an authentication method may arrive soon on Samsung's wearables.

The Korean company has filed a patent for a wearable sensor that reads your veins and authenticate your identity. The patent describes how the sensor takes an image of the user's vein structures and characteristics, and compares it with a vein image in its memory. The advanced sensor is also said to be able to read your pulse rate.

Once authentication is done, the wearable can display personal music playlists, contact lists and ringtones. It may also be used to unlock doors and cars. With wearables starting to be used as payment devices, it is not hard to imagine a future where they can be used for secure access to places such as subway systems and bank accounts. 

Source: USPTO via Fast Company

Our articles may contain affiliate links. If you buy through these links, we may earn a small commission.

Share this article