Patent reveals rumoured body temperature sensor of the Apple Watch Series 8

Apple filed the patent two years ago and it was approved just two days ago.

Image source: USPTO

Image source: USPTO

The U.S Patent and Trademark office (USPTO) just granted Apple a patent for a body temperature sensor.

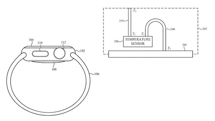
Based on the description of the patent filing, Apple's upcoming body temperature sensor will have a differential temperature probe with a flexible substrate defining two ends. While the first end is thermally coupled to the sensor, the second end is thermally coupled to a surface, voulme or component of the device. This could be the back crystal of the Apple Watch.

The sensor is stated to give a highly accurate and highly precise measurement of the user's skin temperature. The data can be used for health and fitness recommendations, tracking and biometric identification.

The patent also reveals how the sensor can be used on other devices. Wireless earbuds could deploy the sensor to detect the temperature of an inner ear and the Apple Pencil could use the sensor to determine whether a user is holding it.

Apple is expected to debut the body temperature sensor on the Apple Watch Series 8 and the Apple Watch  Pro. Analyst Ming-Chi Kuo says the sensor did not make it to the Apple Watch Series 7 last year due to algorithm issues.

Source: USPTO via MyHealthyApple

Our articles may contain affiliate links. If you buy through these links, we may earn a small commission.

Share this article