Future Apple Pencil could come with touch-sensitive controls

Apple may be working on a future Apple Pencil which has the ability to recognise gestures through a more comprehensive touch-sensitive control interface.

The Apple Pencil 2 allows you to change modes and tools with a double-tap.

The Apple Pencil 2 allows you to change modes and tools with a double-tap.

Apple appears to be working on a next generation Apple Pencil with more advanced touch gestures. 

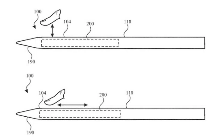
A published patent application describes how a touch sensor can be integrated into the Apple Pencil in a low profile form and receive tactile input from the user. This could mean that the next generation Apple Pencil is capable of detecting a tap, a press or a swipe gesture. 

Apple's latest patent application for a Apple Pencil with touch-sensitive controls.

Apple's latest patent application for a Apple Pencil with touch-sensitive controls.

In addition, the touch sensor on the next generation Apple Pencil can differentiate between tactile inputs from the user and ignore sustained tactile inputs that are provided while the user is holding the stylus at the natural grip's location.

Apple has filed other patents that cover how the Apple Pencil can better simulate the feel of drawing on paper with haptic feedback, and using a camera to record different surface types.

Source: US Patent and Trademark Office via AppleInsider

Our articles may contain affiliate links. If you buy through these links, we may earn a small commission.

Share this article