Motorola Razr foldable phone could be announced at the end of the year

Motorola initially planned to announce its first foldable phone in June, but is said to have pushed it to the end of the year.

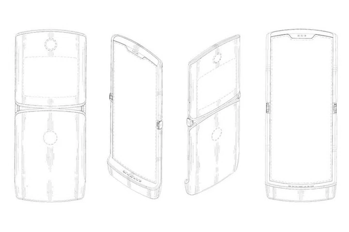
A patent filing for a smartphone with foldable display. <br>Image source: Motorola Mobility LLC

A patent filing for a smartphone with foldable display. <br>Image source: Motorola Mobility LLC

Similar to Huawei and Samsung, Motorola missed its initial rumored announcement date for its foldable phone in June. The company still plans to unveil the device by the end of the year according to a source of CNET.

CNET claims that Motorola will unveil the foldable phone later this year although it is not known when the device will hit retail shelves. Based on a patent filing by the company, the foldable phone is likely to fold inward like its Razr flip phones. The Wall Street Journal also reported that the device could cost at least US$1,500.

The foldable phone is said to be powered by a mid-range Qualcomm Snapdragon 710 with 4 or 6GB RAM and storage options of 64/128GB. Other rumoured specs include an interior 6.2-inch vertically folding screen (2,142 x 876 pixels), an exterior display (800 x 600 pixels), a 2,730mAh battery and 27W TurboPower charging.

Source: CNET

Our articles may contain affiliate links. If you buy through these links, we may earn a small commission.

Share this article