Apple has found a way to waterproof their iPhones

Recent patents by Apple have pointed towards an invention that will expel water from speaker and microphone cavities by using a combination of acoustics and electric charges.

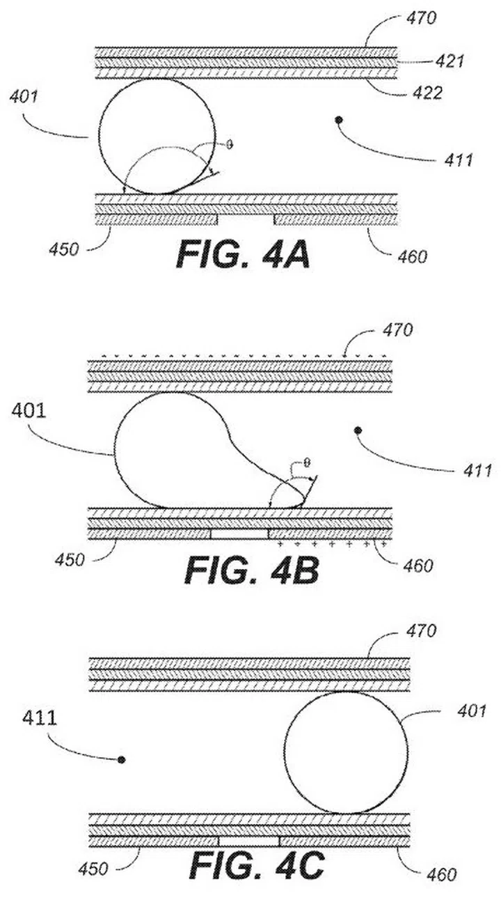
A patent published by Apple on the 12th of November for “Liquid Expulsion from an orifice” describes a method in which liquid can be transported out of an acoustic chamber by varying the surface charges on different surfaces of the chamber. The general idea is to create hydrophobic surfaces to conductive elements within an acoustic cavity like a speaker or a microphone chamber, providing a way to force the water out by varying the charge.

The patent lists how various orifices can be used to dispel water.

The patent lists how various orifices can be used to dispel water.

The patent lists various options for the implementation of this idea – in some, sensors in the acoustic module are used detect the presence of moisture. In others, existing acoustic sensors like onboard microphones accomplish this task through tone analysis (as presumably sound bounced off moisture gives a different tone from that bounced off the acoustic chamber).

Either way, if liquid is determined to have entered the chamber, a surface charge is applied to conductive elements lining the chamber walls. These elements are covered with a protective layer of dielectric material and can switch surface charge between positive, negative and neutral, allowing them to either attract or repel liquid. For example, a positive charge might attract liquid by reducing the area’s hydrophobic properties, while a negative charge might have the opposite effect and push it away.

Using a varying positive and negative charges to direct moisture out of the device.

Using a varying positive and negative charges to direct moisture out of the device.

Selectively applying charges to particular regions might then allow the system to influence the movement of collected liquid, transporting it out of an exit port. Speaker drivers might also be put to use to assist in liquid evacuation by outputting sound waves strong enough to push the liquid out by force.

There’s obviously no way to tell when Apple intends to implement this latest patent into a product, but it would definitely be a step up from the current designs. Apple is already employing passive waterproofing measures in their current line-up: the iPhone 6S has been found to include a perimeter gasket and silicone-sealed cables, while the Apple Watch boasts a water resistant design. This new technology would be much better than either approach and would probably see an end to one of the most common causes of iPhone failure.

Sadly, plenty of tech companies pick up patents that never see the light in an actual product, so hopefully this doesn't turn out to be one of those! 

Source: Apple Insider, United States Patent Office

Our articles may contain affiliate links. If you buy through these links, we may earn a small commission.

Share this article