Apple's mixed reality headset could support Continuity feature

With Continuity feature, you could easily switch between the Apple mixed reality headset and other devices in the ecosystem without interrupting what you are doing.

Apple could bring the Continuity feature to its upcoming mixed reality headset.

The European Patent Office published a patent application from Apple which describes how users can move seamlessly from thee mixed reality headset to other devices in its ecosystem.

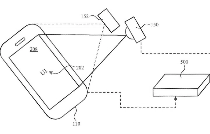
For example, a song playing on the iPhone can also be transferred to the HomePod with just a gesture or look at the smart speaker from the user wearing the mixed reality headset.

An email viewed on an iPhone screen from the mixed reality headset can also be projected onto a bigger virtual display with a hand gesture or switch of gaze. The user can continue drafting the email with the cameras on the mixed reality headset detecting the finger movements.

Aside from switching from a physical screen to a virtual one, the patent application also highlights how the mixed reality headset can augment the Mac by placing "accessory windows" near or outside of the monitor into an "extended reality environment". 

The Continuity feature is currently used across the Mac, iPhone, iPad and Apple Watch. By signing into your Apple ID, you can use Continuity features such as AirDrop, AirPlay, Auto Unlock, Apple Pay, Continuity Camera, Continuity Markup, Sidecar to move seamlessly between your Apple devices.

Apple is expected to unveil the mixed reality headset in September alongside the iPhone 15 lineup.

Source: PatentScope via MacRumours

Our articles may contain affiliate links. If you buy through these links, we may earn a small commission.

Share this article