Samsung gets serious about patenting foldable tablet and smartphone displays

Samsung seems to be a step closer to making foldable personal devices possible, if the submitted patents are any indication.

Bend it like Samsung. Sketch of applied clam-shell design folds.

Bend it like Samsung. Sketch of applied clam-shell design folds.

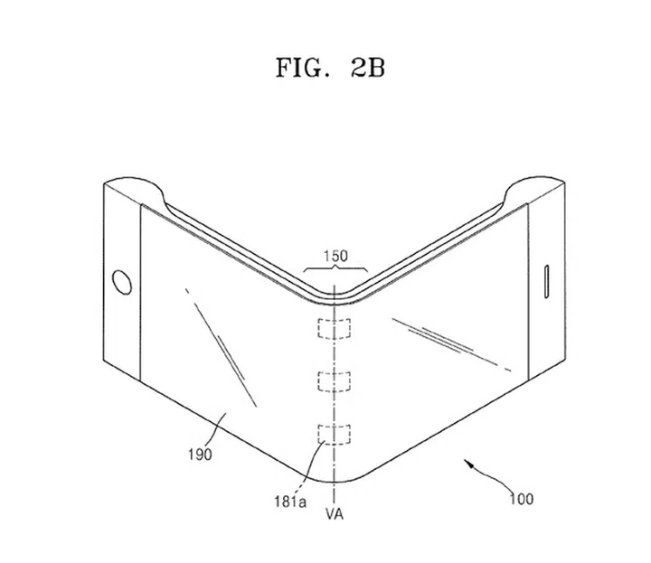
The future is closer than we think. Early last month, the US Patent and Trademark Office published a patent application that was submitted by Samsung in mid-2014. The application sought to patent a sturdy-looking smartphone that is foldable at the center, with a display that bends both ways.

While not exactly new, bendable screens are also not exactly fathomable by current standards. It can go either way.

While not exactly new, bendable screens are also not exactly fathomable by current standards. It can go either way.

The patent application can be found here, with detailed illustrations on the various ways the phone can be folded into. The illustrations show how the phone adopts a clam-shell appearance when closed, while taking on the form of a modern smartphone when fully spread out.

A 2013 artist-rendered concept device of the Project Valley patent.

A 2013 artist-rendered concept device of the Project Valley patent.

Back in late-2013, Samsung also patented another interesting foldable concept for the tablet. The patent, which Samsung internally refers to it as Project Valley, was a design registration application filed through the Korea Intellectual Property Office. Other than explanatory sketches, the document also featured an artist-rendered concept of a tablet-like device with a three-panel fold design. Further scrutiny showed that the folded display is continuous – there should be no break in display along the folds, and the screen can be unfolded into a larger monitor-like display. The 2013 Korean patent – numbered 30-0757696 - can be downloaded here.

The Project Valley variant can be folded into a third of its original span, leading us to believe it's a tablet-monitor or smartphone-tablet hybrid.

The Project Valley variant can be folded into a third of its original span, leading us to believe it's a tablet-monitor or smartphone-tablet hybrid.

We’ve speculated about Samsung’s plans for foldable personal devices being commercially available come 2016, and these patents seem to make foldable devices all the more possible. The rest depends on Samsung on not letting cutting-edge technology become a gimmick by pushing a new device that does not abuse the flexibility of foldable screens. It is also worth noting that it’s not unusual for companies to patent ideas and designs – and not implement them – in order to prevent other competitors from building similar products.



Source: Business Insider, Forbes, Android Authority

Our articles may contain affiliate links. If you buy through these links, we may earn a small commission.

Share this article