Ford’s latest patent features a movie screen covering the windshield in driverless cars

The movie projector and screen will retract into the car’s ceiling, should the passenger decide to retake control of the vehicle.

Ford Motor Company is quick and bold to explore the possibilities of leisure within driverless cars. In fact, their latest patent show an interesting in-car entertainment system that covers the windshield with a movie projection screen, as the car zips driverless along the expressway.

When the vehicle is under control of a human driver, the entertainment system's screen will be kept away.

When the vehicle is under control of a human driver, the entertainment system's screen will be kept away.

If driverless car is moving autonomously, the screen will lower, allowing the in-car entertainment system to project media for the passenger's to enjoy.

If driverless car is moving autonomously, the screen will lower, allowing the in-car entertainment system to project media for the passenger's to enjoy.

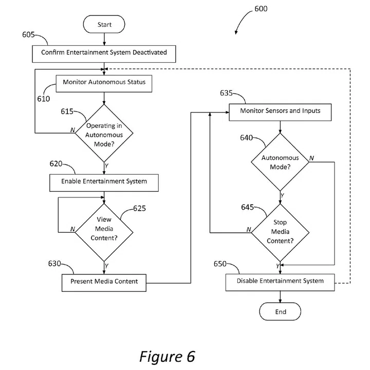
According to the details submitted to the US Patent and Trademark Office, the invention is an “Autonomous Vehicle Entertainment System” that can determine whether the car is operating in driverless mode, or non-autonomous mode. If the car is currently driverless, the system will then decide to “present media content” for its passengers on a second display that will cover the windshield.

The reverse also applies – if the passengers decide to elect a human driver during a trip, the car’s in-built system will automatically keep its attachments and relinquish car control to the human driver instead.

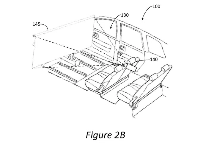
Ford's patent diagrams illustrate how the driverless car and the in-car entertainment system will decide to provide or keep the screen during a trip.

Ford's patent diagrams illustrate how the driverless car and the in-car entertainment system will decide to provide or keep the screen during a trip.

The patent’s illustration shows a movie screen that will obstruct the windshield when the car is in driverless mode. It also blocks off the steering wheel and the “user interface device” (labelled as “105” in Figure 2A). Displayed media content can come from the projector (marked as “140” in Figure 2B) and “any number of sources” – examples in the patent mentioned having content projected via a memory device, or from a wireless source via a network.

While this conceptual system sounds highly unusual with tendencies to invite trust issues between your future driverless vehicle and you, the idea is nowhere as bold as Google’s driverless car claims. According to the New York Times, Google believe that the next step up from their current prototypes would be driverless cars that can operate safely without driver, steering wheel, brake or accelerator pedal.

You can see the patent’s details and specifications listed here.

Source: Forbes, US Patent & Trademark Office

Our articles may contain affiliate links. If you buy through these links, we may earn a small commission.

Share this article